On January 12, "The country is beautiful " APP already sadly more the name is " true joy " , and still registered " true joy " company, prepare application " true joy " brand. The United States represents the state, the line on the clue that should provide interesting, material benefit for consumer leaves shopping way.
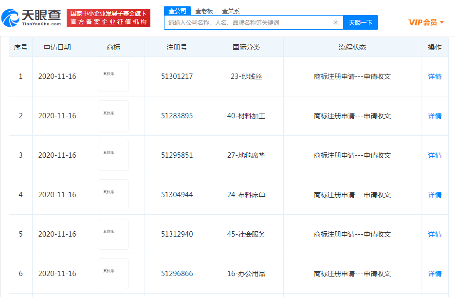
"True joy " the operation main body of APP is a country limited company of business affairs of beautiful online electron. As we have learned, this APP is original " the country is beautiful " APP. Weather eye is checked show, the United States controls the country limited company already applied for a group " true joy " brand, brand condition is " in brand application " .
"True joy " Introduction APP shows, this is a recreation is changed, the shopping APP that socialization changes, the procedure that lets shop is full of good, pleasurable experience, in making the living " small I hope truly " .
Last year in December, the United States controls the country invest external establish true joy (Beijing) limited company of science and technology is wholy-owned subsidiary, register capital 5 million yuan, the legal representative is Dong Xiaogong, scope of operations contains wholesale, retail provision; Internet information serves; Broadcasting television programming; Undertake Internet culture activity; Road freightage.
Origin: Beijing daily client is carried | Reporter Sun Jie
Picture origin: Eye of scheme of check of millet application store, weather is checked
Flow edits: U016
Copyright statement: Text copyright puts in Beijing 's charge to sign up for a group all, without the license, must not be reprinted or adapt.












