The "Apple Glass " that the apple is about to roll out (malic glasses) may let an user jump over the IPhone that solve a lock, because they will passed attestation. The apple had won a patent at present, use " of " apple glasses or similar device namely, automatic solution locks up the other equipment of the user. If the user adorns,this is similar to Apple Watch, mac may see the way of the lock.
"Attestation equipment assists user attestation " applied for 2018 at first, now is win approved patent newly, involve through close quarters attestation, undertake attestation through " of " apple glasses namely, the user need not see the IPhone that locks up his, IPad, Mac or other equipment repeatedly. The apple expresses in patent, a lot of electron equipment are based on the visit that will limit all sorts of pair of functions to user identity attestation, when many equipment are used at the same time, separate solution locks up every equipment program the visit of meeting defer user, reduce the quality that the user experiences.
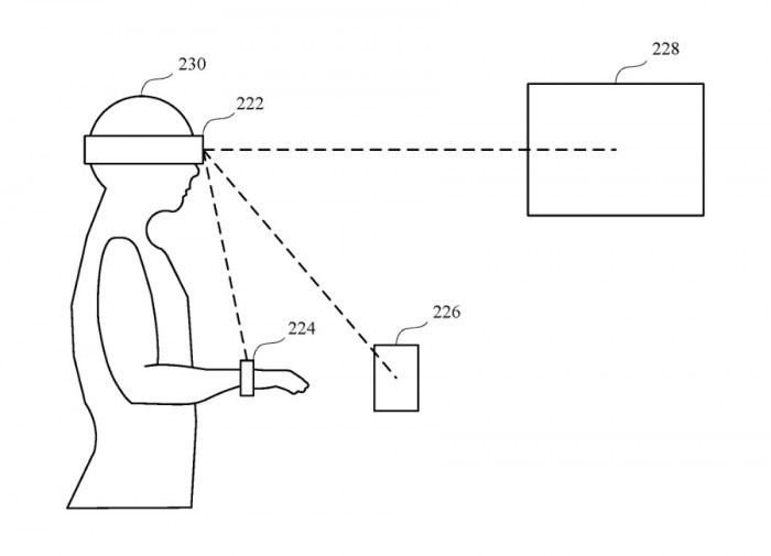
The solution that the apple offers includes a facility that passes attestation, this equipment is adorned be an equipment that wear type by the user. The close quarters equipment around can be IPhone, IPad Pro, Mac. Next] attestation equipment can be operated in order to detect close quarters equipment, in order to decide the user is in the intent of equipment of close quarters of the visit when the lock decides position in close quarters equipment, issue attestation data. Be based on attestation data, close quarters equipment is user identifying the user that passes attestation, decide condition to enter the state that solve a lock from the lock, make the user can visit all sorts of limits a visit functions on equipment thereby.
Accordingly, in adorn IPhone is taken when " of " apple glasses, the user must not see a mobile phone even, can use it directly, is not input a password or await Face ID. Malic proposal, this kind of patent can have administrative levels attestation. Should be in only adorn IPhone or IPad are taken when " of " apple glasses, can undertake finite use. This is similar to at present malic equipment can let an announcement appear on Suo Bing, perhaps allow to be in indissoluble the visit below the circumstance of the lock controls a center.












