The apple is studying a variety of differring to protect housing for IPhone and IPad, wh some of which includes the function that charges for AirPods. Since 2018, the apple can have joined through magnetic force IPad Pro will charge. Now, the apple wants to expand it seems that this idea, the patent that wins because of the apple shows, separate protective case and cap may realize this kind or charge similarly function.
These crust and cap are in two new the description had in the patent that grant. The range that they involve jointly is very wide, want to protect facility already, want to score more gain from inside equipment again. The name is used at carry and charging for " the crust of fittings and run from opposite directions page " is main malic new patent, covered range is the biggest. The apple expresses, each involve a kind of case that is used at securing portable electron equipment and fittings.
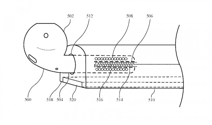
The apple expresses between patent description, cap perhaps has a cavity among protective carapace, let equipment outfit be inside, still can transmit power source. The apple expresses between patent, the thing that it describes can be used charge for any, arrive from the mobile phone camera or unmanned aircraft, the detail in patent, showed the AirPod that charging. There is case of IPhone mobile phone before the apple, included battery among them, because this is OK,charge to the mobile phone. This patent included this kind of function, but also described IPhone how to be power supply of fittings of mobile phone hull. Mobile phone carapace can include the first terminal, the 2nd terminal and battery, the first terminal can receive the electric energy that comes from portable electron equipment, charge for batteries. And store the electric energy in batteries can pass the 2nd terminal to transfer fittings.
This idea is, crust is cover of a protection not just. Contrary, it can be one includes " electrical outlet the thing of " , and these electrical outlet can think the other equipment such as AirPods charges again. Exemple if an electrical outlet can include,start to talk twice, two end each one, use at receiving accessory facility, and among charge terminal is used at undertaking between socket and accessory equipment energy is transmitted. This patent illustration shows, airPods is entered by card in these electrical outlet, but this does not eliminate Apple Pencil form wireless connective possibility. Fittings equipment can cooperate through attrition, magnetic force coupling or both hold concurrently and have will undertake fixed.
















