File a document according to a newest patent, the apple is grinding at present the IPhone that sends much money to be able to charge for AirPods and other fittings protects housing.
By the apple with American spectacular Patent Office newest patent expresses one when cite releases from AppleInsider, its caption is " a protective carapace that can charge for fittings and over cap " .
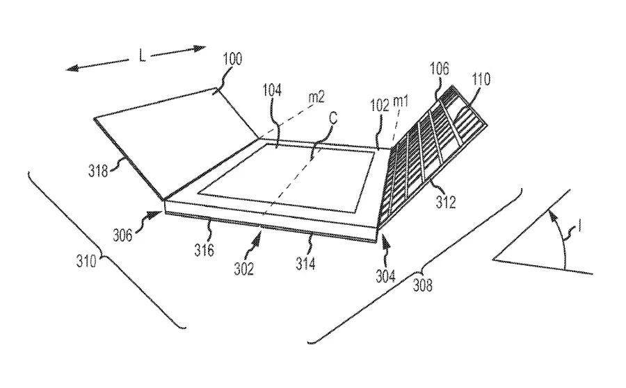
The exterior that patent picture reveals looks is an average protective case, but protective carapace flank reserves available pitch, can put of all kinds fittings, and can be fittings undertake charging directly.
This patent revealed a variety of different fittings to receive means and exterior, for example billfold of Qian Ga, renovate, skin is covered, a variety of combination such as armlet. Anyhow is all sorts of different exterior of the cavity plus corresponding fittings and obligate charge contact.
Another design is to protect housing itself to carry battery oneself, can use this batteries to charge for fittings directly. At the same time protective carapace still supports NFC, can correspond with mobile phone and fittings at the same time. And there still is interlining of a type that insert groove inside protective carapace, can receive money or card.
Still have an unique design in addition, protective carapace front has an indication hold that can show information, can show the n state of mobile phone or fittings independently, also can show the announcement inside the mobile phone or incoming telegram information.
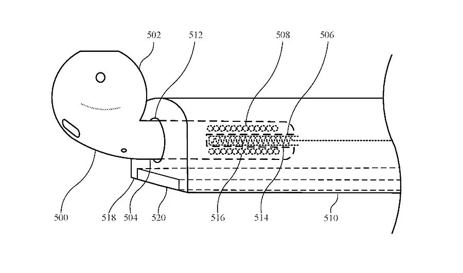
Another not quite perfect protective carapace design is, in protection housing coping has two cavity, control each one, use at containing fittings device. Have inside every cavity charge output terminal is used at n to transmit, fittings can carry magnetic force or attrition force is secured inside cavity. The weight of this kind of design is lighter, the n that passes mobile phone itself will be fittings power supply.
Still having a design is the design that is similar to MagSafe to block a bag, it sucks AirPods magnetism it is its power supply in mobile phone the reverse side.
These patent content look a likelihood very do laugh, won't make actual consumer goods more possibly forever, but its meaning depended on showing an apple the interest to fittings domain, also provided inspiration for trade of huge tripartite fittings.
No matter be Apple Watch watchband, brand-new on IPhone 12 still the MagSafe that join, this shows prospective apple can take fittings product seriously more and more.
















