[news of mobile phone China] time comes to January 13, malic glasses had new trend recently, a patent exposure about malic glasses, revealed new solution to lock up the method of other apple equipment. In the meantime, a type that is called SamSung Galaxy F62 appears in GeekBench to run on cent website, or alluding its to be about to release. Of this mobile phone in casing is revealed already completely now before everybody, partial parameter information also by exposure.
The intermediary outside ◎ : Exposure of malic glasses patent can be used at solution to lock up other apple equipment
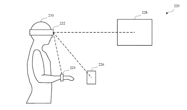
Message of the intermediary outside occupying, new patent shows malic glasses may solve lock IPhone automatically. The solution that describes in this patent locks up means, as similar to the Jie Suofang type of Mac as Apple Watch. Some earlier additionally two patent that moment announces make clear, malic company developed new protection to cover for IPhone and IPad. This patent says, the equipment that solve a lock (for example IPhone) can become troublesome sometimes, be in especially epidemic situation this paragraph of time, people wore guaze mask, cannot use countenance to solve a lock. Apparent, patent did not call the product Apple Glass directly, but the language that its use makes its " very clear " the ground pointed out this product.
Malic glasses patent pursues
Morning paper comments on: Method of this solution lock is very convenient
Exposure of the casing in mobile phone of ◎ SamSung Galaxy F62! Already measured at present produce be about to appear on the market
Recently, a type that is called SamSung Galaxy F62 appears in GeekBench to run on cent website, or alluding its to be about to release. According to 91mobiles report, of this mobile phone in casing is revealed already completely now before everybody, partial parameter information also by exposure.
Can know in the news that reports from this website, of mobile phone of SamSung Galaxy F62 in casing part picture has appeared, the picture shows this machine used postposition 4 photograph a design, 4 camera lens show a square to arrange, bottom still has 3.5mm earphone to insert Kong He USB-C to charge interface. Still have a place that deserves attention, in this in the lower part position of paragraph model group, quarter writing " F62 " wait for model of written characters, as it happens proved SamSung Galaxy F62 the existence of this mobile phone.
Exposure of the casing in SamSung Galaxy F62
Morning paper comments on: This mobile phone exists really so
Chip of ◎ SamSung Exynos 2100 releases compositive 5G to design advocate frequency is as high as 2.9GHz
On January 12 evening, processor of SamSung Exynos 2100 is released formally. This chip is the admiral chip that SamSung head money uses compositive 5G modem, also be the set of chip of the 2nd 5nm after the Exynos 1080 that end rolled out SamSung afterwards 2020.
SamSung Exynos 2100 used the kernel of new-style high-powered Cortex-X1 of ARM, advocate frequency is as high as 2.9 GHz. Complementary with 3 A78 kernel, and the A55 kernel of 4 high-energy effect. SamSung expresses, this CPU compares Exynos 990 in much nucleus task fast 30 % . The one part of this advantage comes from more advanced technology, this craft can improve performance 10 % (fall in same power level) , or reduce power comsumption 20 % . SamSung had realized much IP adjuster, in order to optimize CPU, GPU and chip set the power comsumption of other element.
Processor of SamSung Exynos 2100 is released
Morning paper comments on: Expect to carry the show on the mobile phone
2020 whole worlds of ◎ are patent enterprise 50 strong: SamSung, apple, China be before entering 10
On January 12, the IFI CLAIMS Patent Services of patent database provider with banner whole world released a group of data, announce 2020 American patent and brand bureau (PTO) grant patent number: 352013, drop compared to the same period 1% .
In the meantime, the whole world is patent 2020 enterprise 50 give heat by force. Among them, IBM won 9130 patent, although drop compared to the same period 1% , but seek hegemony 28 years continuously. Discharging those who be in the 2nd is SamSung electron, what obtain patent amount to be 6415, slightly under 6469 of 2019. Beautiful can rank 3, won 3225 patent, under 3548 of 2019.
SamSung
Morning paper comments on: IBM is fierce
















