Jotter charges to the mobile phone, do not know why this this jotter hopeful of the apple gives a mobile phone wireless charge so fervent, before this China to had been accomplished, accomplished not just wireless charge, and the infinite interconnection that still accomplished mobile phone and jotter, it is OK and duplicate file, OK also to can cast screen the likelihood of more creation and efficient office!
If malic jotter is hit merely,went out so so a piece of ace, give a mobile phone wireless charge to you can win market position certainly?
I feel is incapable, jotter charges to cannot serve as normal for certain to the mobile phone, he also is means of below the circumstance that the mobile phone does not have report one kind of lash-up just! After all when we are using notebook, the palm basically occupies the space, that has a space to give the mobile phone of a hindering hand the seat, general when we handle official bussiness with jotter, the mobile phone also is to be put by, see malic patent apparently, it is OK that he also cannot realize a paragraph of distance to be not contacted wireless charge!
So need contacts the word of jotter itself, that unless when the mobile phone charges, do not use computer, so if so below the circumstance, this wireless where is charging economic value? The netizen still speaks say: the reason that this is charger of your don't bother to see me out, because can buy jotter to charge to IPhone!
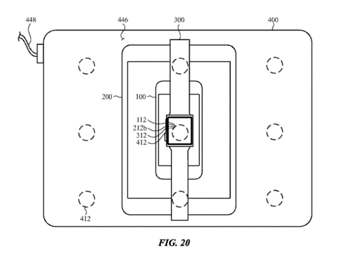
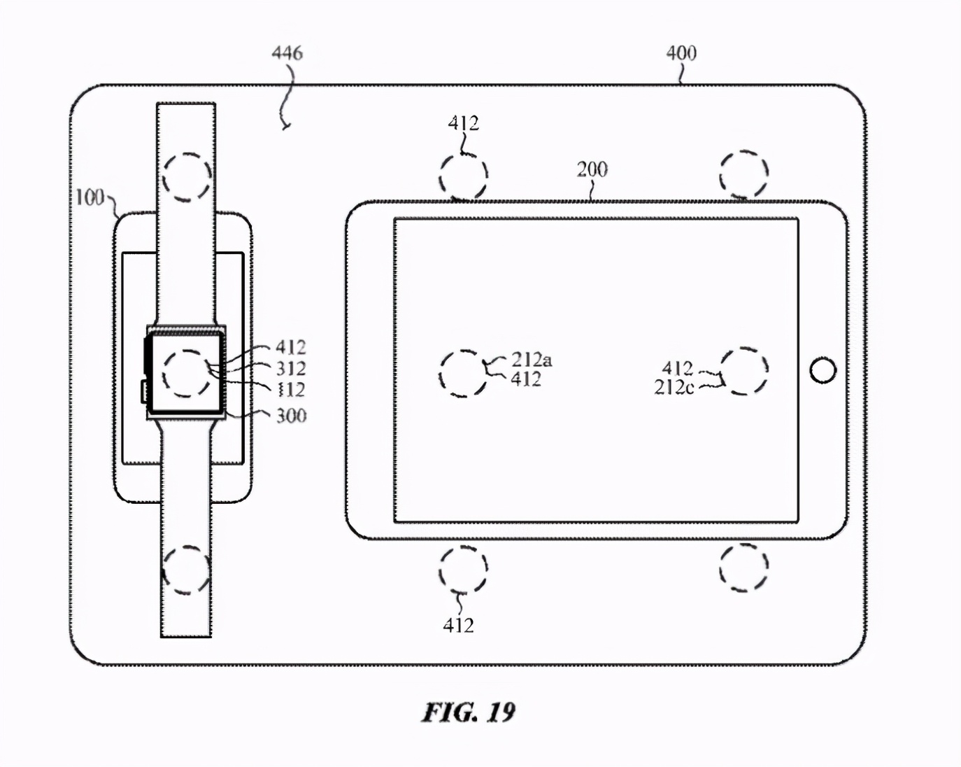
Company of apple of patent mad demon exposure new patent. The intermediary outside occupying reports, near future apple applied for a name to be " the inductance between electronic equipment charges " patent, implementation apple is different equipment is mutual between through wireless charge, if why be IPhone and Apple Watch to charge on malic equipment,this patent was described.
In addition, IPad back also can secure induction coil, also can undertake for IPhone and Apple Watch wireless charge.
Turned Mac notebook computer and IPad into to exceed charge greatly treasure. When the user goes out, do not need to carry data line, put the mobile phone on computer at any time perhaps come true on flat computer wireless charge.
Read these a few groups of blueprint, I also am the has internal injury feeling that feels deep, does this kind of configuration come down where is economic value? Still be inferior to coming directly wireless charge the design of treasure is patent, this is more practical, charge because of what buy to exceed big milliampere treasure, OK and wireless to computer of IPhone, flat, watch can superpose charges, still do not affect normal user experience!
Actually also the netizen expressed: "I do not value MacBook computer to be IPhone wireless charging design, because when charge the mobile phone needs to place,go up in computer, use what can affect computer normally, at the same time concern is charging sound of electric current of the generation in the process. At the same time concern is charging sound of electric current of the generation in the process..
So wireless charge more is embedded after I feel arrived on the sort of desk, desk lamp, mouse mat that exceeds a sousaphone, I feel practical to value is very big, but if designed jotter and flat computer,go up, economic value is not great, on one hand these equipment itself are wireless charge can have, also be a lash-up merely just, after all itself capacity is not much also, that has so much report to come additional offer other unit! How to look to this everybody, the welcome pays close attention to Limeng of the person that I do poineering work and me to communicate together!
Hopeful of # apple jotter is IPhone wireless charge #
















