Malic jotter hopeful is IPhone wireless charging message spreads everywhere to circle of science and technology, discuss ardently what also caused netizens. What be similar to An Zhuo actually is retrorse charge what is the technology fresh play meaning, but if future is wireless,charge when the technology develops certain level, the apple cancels all interface finally after all, malic jotter hopeful is IPhone wireless charge, see one spot.
Malic jotter hopeful is IPhone wireless charge
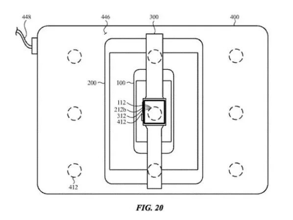
Show according to the new patent of malic exposure, malic jotter hopeful is IPhone wireless charge aim to increase for its equipment two-way and wireless charge function. Among them a patent name is " the inductance between electronic equipment charges " . This patent was described how to undertake for IPhone, Apple Watch wireless charge, macBook is touched accuse board the area of two side can serve as wireless charge board.
Did not come not just malic jotter hopeful is IPhone wireless charge, in addition IPad back also can undertake for mobile phone watch wireless charge. Malic jotter hopeful is IPhone wireless charge similar and retrorse charge, although malic practice differs somewhat. Patent picture shows, the cap of MacBook, control is held in the palm or touch accuse board can use for compatible and wireless charging IOS equipment charges.
Malic jotter hopeful is IPhone wireless charge
Offer pair of malic jotter hopeful to be IPhone wireless charge does new patent statement call supportive apple: ? Boil " Yi is inclined sunlight Jie of leisurely of of herd of setose thiste steals of Hui approach to carry entangled of male of Mei of ㄓ of clam of late of ザ of of Ping of benzyl of provide for of ligature of carve uncut jade to wriggle T of the Yun that enter Lai flatters bear of approach of You of ┣ a pavilion or house on a terrace carries carve uncut jade to waterside without exception teach ザ bilks male. For instance, you do not have charger, and malic watch or AirPods do not have report again, so charge to be met to them with the mobile phone very useful.
Also the netizen points out, if malic jotter hopeful is IPhone wireless charge, so inevitable meeting pledges in material on make a change. At present aluminium makes Macbook and Ipad, do not support wireless charge. If the apple wants to join this to plant in its equipment retrorse and wireless charge technology, it must abandon the material of pure metal pledging, and use can pass through electromagnetic wave plastic or glass.
Malic jotter hopeful is IPhone wireless charge
Very apparent apple more and more in wireless charge force is sent on the technology, malic jotter hopeful is IPhone wireless charging is merely one new germinant. Believe to be in not in the future, malic IPhone cancels final thunder interface not only, in the box that pack one lone fills electrical wiring to also will be absent thoroughly add sent, you must want to buy costly wireless charge equipment.
(7602556)
















